Hallo,
zwei seltene DAT Autoradios habe ich bekommen. Beide in einem guten bis mäßigem Zustand.
Das gute: die Kabel waren dabei.
Das schlechte: beide Bedienteile “kleben” wie verrückt.
Ein erster Funktionscheck ergab, dass einer die Kassette laden und abspielen konnte, aber beim Auswerfen etwas hakte. Der andere konnte das Tape Loading nicht fertigstellen.
Nun muss ich in Ruhe die beiden Laufwerke mir ansehen, reinigen und herausfinden wo’s klemmt.

Sony DTX-10 double readout
Das Laufwerk ist ziemlich einmalig, denn es wird eine 15 mm große Kopftrommel (Drum Unit) verwendet, diese rotiert mit 4000 u/min und liest die Informationen vom Band doppelt aus, im Longplay sogar viermal (die Drum dreht auch hier mit 4000 jedoch das Band läuft dann mit halber Geschwindigkeit). Dies nutzt Sony um eine sehr hohe Fehlerkorrektur zu erzielen unter “schlechten” Bedingungen im mobilen Betrieb.
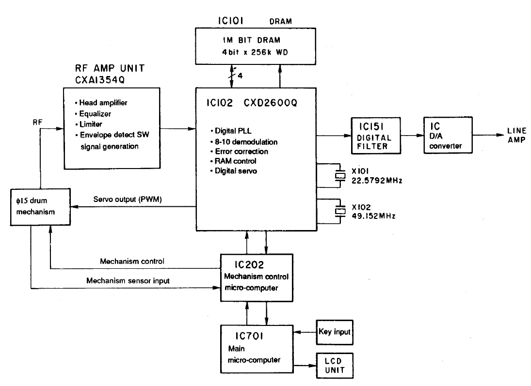
Die gewonnenen Datenpakete A und B Block sowie A’ und B’ werden in einen 1 MB großen RAM geschrieben, ausgewertet und an den Wandlerchip übergeben.
Sony setzt bei diesem Laufwerk auf den NT Betrieb (Non Tracking) durch die auf dem Band gespeicherte Information (Frame Adresse und Blockadresse) ist eine Bestimmung und Zusammensetzung des Audio Data Blocks aus dem RAM möglich, selbst wenn diese Daten in unterschiedlicher Reihenfolge gelesen wurden.
In den RAM können 12 Frames geschrieben werden, wobei ein Frame aus einem Paar aus A und B Blöcken besteht.
Das Herzstück des DTX-10 Autoradios bilden der RF Chip (CXA1354Q) und der Digital Chip CXD2600Q.
In Internetforen habe ich gelesen, dass der DC-DC Wandler wohl gerne viel Hitze produziert. Sony rüstete wohl einige Geräte mit einer extra Kühlrippe um, um diesem Problem entgegen zu wirken. Meine beiden Modell haben diese Nachrüstung nicht, mal sehen was ich machen kann.
Beim ersten flüchtigen drüberschauen sind mir auch ein paar Elkos aufgefallen, diese werde ich auch einzeln prüfen und ggf. auch austauschen.
Anstehende Arbeiten:
– Bedienteile reinigen
– Laufwerk und Platine reinigen
– Elkos prüfen
– Laufwerk prüfen und Fehler finden
– zusammenbauen